宝蒂塑料--专业制造 塑料阀门系列、塑料管道系列
语言
产品特点:
● T型过滤器,适合在腐蚀性介质管路使用。
德彩网● 安装尺寸小,流量大,流阻小。
● 更换滤网方便,滤渣在滤网内部。
德彩网● 可用于水平或垂直管路,安装时注意流向。
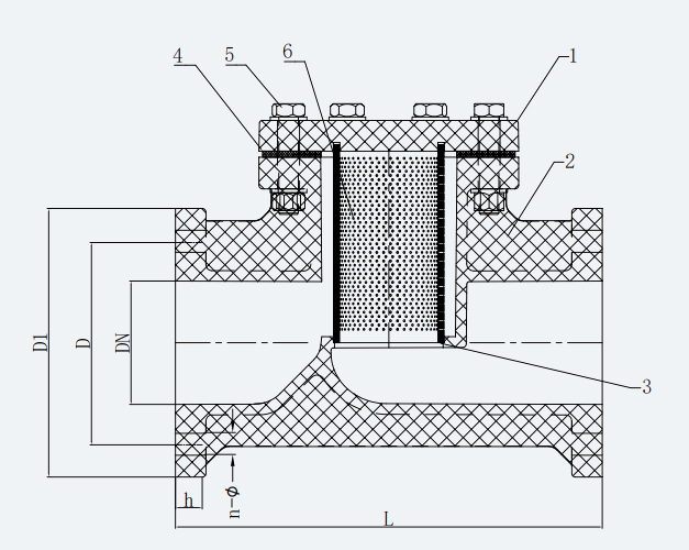
材质配件表

|
编号No. |
零部件 |
材料 |
|
1 |
阀盖 |
FRPP,PPH,UPVC,CPVC,PVDF |
|
2 |
阀体 |
德彩网FRPP,PPH,UPVC,CPVC,PVDF |
|
3 |
支架 |
德彩网FRPP,PPH,PVDF |
|
4 |
橡胶垫 |
EPDM,FPM,PTFE |
|
5 |
螺栓螺母 |
钢,不锈钢 |
|
6 |
过滤网 |
FRPP,PPH,PVDF |
产品尺寸表(mm)
|
DN |
D |
D1 |
L |
h |
n |
φ |
筛网孔径 |
工作压力(Mpa) |
|
25 |
85 |
115 |
160 |
16 |
4 |
14 |
2 |
0.6 |
|
32 |
100 |
140 |
180 |
16 |
4 |
18 |
2 |
0.6 |
|
40 |
110 |
150 |
200 |
18 |
4 |
18 |
2 |
0.6 |
|
50 |
125 |
165 |
230 |
18 |
4 |
18 |
2 |
0.6 |
|
65 |
145 |
185 |
290 |
22 |
4 |
18 |
2 |
0.6 |
|
80 |
160 |
200 |
310 |
25 |
8 |
18 |
2 |
0.6 |
|
100 |
180 |
220 |
350 |
25 |
8 |
18 |
2 |
0.6 |
|
125 |
210 |
250 |
400 |
30 |
8 |
18 |
2 |
0.6 |
|
150 |
240 |
285 |
480 |
30 |
8 |
22 |
2 |
0.6 |
如需特殊筛网孔径,请咨询我司或当地经销商