德彩网

T型过滤器 PPH

T型过滤器 PPH

产品特点

德彩网T 型过滤器,适合在腐蚀性介质管路使用

德彩网安装尺寸小,流量大,流阻小

德彩网更换滤网方便,滤渣在滤网内部

可用于水平或垂直管路,安装时注意流向

更多信息

产品详情



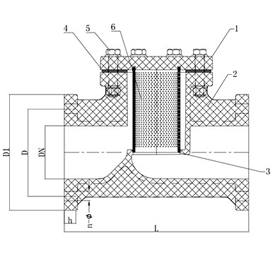
材质配件表

编号

零部件

材料

1

阀盖

德彩网FRPP, PPH, UPVC, CPVC, PVDF

2

阀体

FRPP, PPH, UPVC, CPVC, PVDF

3

支架

FRPP, PPH, PVDF

4

橡胶型

德彩网EPDM, FPM, PTFE

5

螺栓螺母

钢,不绣钢

6

过滤网

德彩网FRPP, PPH, PVDF


产品尺寸表(mm)

DN

D

D1

L

h

n

Φ

筛网孔径

工作压力(Mpa) 

25

85

115

160

16

4

14

2

0.6

32

100

140

180

16

4

18

2

0.6

40

110

150

200

18

4

18

2

0.6

50

125

165

230

18

4

18

2

0.6

65

145

185

290

22

4

18

2

0.6

80

160

200

310

25

8

18

2

0.6

100

180

220

350

25

8

18

2

0.6

125

210

250

400

30

8

18

2

0.6

150

240

285

480

30

8

22

2

0.6

德彩网如需特殊筛网孔径,请咨询我司或当地经销商

与我们联系
500505百万文字论坛综合资料-500308百万文字论坛-780790百万文字论坛红字-798790百万文字论坛下载-500505百万文字论坛雷锋版 乐盈VI 天天中彩票-Welcome首页 佰富彩-安全购彩 佰富彩 - IOS/安卓通用版 800彩票 - 首页 耀彩网-首页 98彩票|官方网站